Product Summary
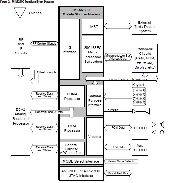
The QUALCOMM MSM2300(CD90-22110-1) is the fourth generation ASIC in the MSM family. It offers improved functionality, lower cost and significant power savings over previous MSM versions. The device integrates functions that support a dualmode CDMA/FM subscriber unit. The MSM2300(CD90-22110-1) performs baseband digital signal processing and executes the subscriber unit system software. It is the central interface device in the subscriber unit, correlating RF, baseband and audio circuits, as well as memory and user interface features.
Parametrics
Absolute maximum ratings: (1)TS, storage temperature: -65 to +150℃; (2)TJ, junction temperature: +150 ℃ max; (3)VI, Voltage on any INPUT or OUTPUT Pin: -0.5 to VDD+0.5v; (4)VDD, supply voltage: -0.3 to +4.6v; (5)IIN, latch-up current: ±150mA max; (6)VESD, Electrostatic Discharge Voltage (HBM MIL 883 301S): ±2000v max.
Features
Features: (1)Supports IS-95-A compliant CDMA and AMPS subscriber units; (2)Low 2.7 to 3.6 V DC power consumption during operation; (3)Internal DFM subsystem for AMPS operation(with BBA2); (4)Software-controlled power management features; (5)Advanced submicron CMOS design; (6)Three package versions available: A 176-pin TQFP and a 196-ball PBGA for high-volume production and a 208-pin PQFP development version. (The 208-pin version supports MICE for System Development.); (7)ANSI/IEEE 1149.1 Testability.
Diagrams

![]() |
![]() MSM2012 |
![]() Elpac (ICCNexergy) |
![]() Linear and Switching Power Supplies 20W 12V 1.67A |
![]() Data Sheet |
![]()
|
|
||||||||
![]() |
![]() MSM27C402CZ |
![]() Other |
![]() |
![]() Data Sheet |
![]() Negotiable |
|
||||||||
![]() |
![]() MSM2815 |
![]() Elpac (ICCNexergy) |
![]() Linear and Switching Power Supplies 28W 15V 1.9A |
![]() Data Sheet |
![]()
|
|
||||||||
![]() |
![]() MSM2824 |
![]() Elpac (ICCNexergy) |
![]() Linear and Switching Power Supplies 28W 24V 1.2A |
![]() Data Sheet |
![]()
|
|
||||||||
![]() |
![]() MSM2812 |
![]() Elpac (ICCNexergy) |
![]() Linear and Switching Power Supplies 28W 12V 2.3A |
![]() Data Sheet |
![]()
|
|
||||||||
![]() |
![]() MSM27V1655CZ |
![]() Other |
![]() |
![]() Data Sheet |
![]() Negotiable |
|
||||||||
(China (Mainland))









